过去的九个月,我一直在负责社区产品工作,看过我专栏的朋友应该能发觉我其实是在用游戏化思维进行传统社区的改造。
如今社区在产品机制上的调整已经接近稳定状态,UGC内容产生效率比起改造前提高了一大截,但随之而来的是社区发展也进入了瓶颈状态,要想再次破局就不能单从产品上发力了,而是需要从产品+运营一起去发力。
但是UGC社区是今年才开始做起来的,并且在短短几个月从原本的5人规模快速扩张到接近50人的规模并且分属两个部门,并且因为大家工作交叉经常会发生资源争夺的现状,这又进一步制约了产品的发展,搭建运营体系迫在眉睫。
第一步:确立产品的定位
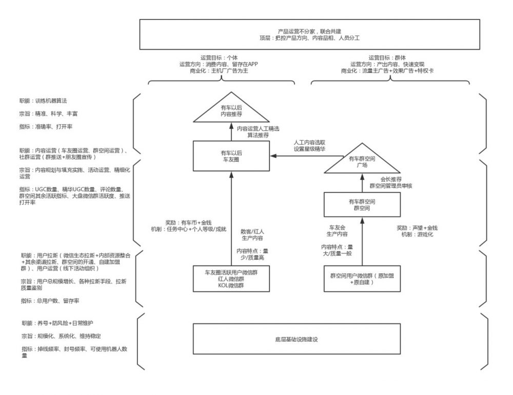
我们的社区是一个三级的结构:社区首页-车友圈(用户圈组)-群空间(基于微信群的朋友圈),正是靠着这样的结构,我有着比较高的发帖效率,并且能有效沉淀水帖,让用户在使用产品的时候能马上消费到最优质的内容。
但是UGC之所以能在短短的几个月做起来,是因为我们的社群运营团队找到了大量的社区头部用户,这群用户在群空间里面活跃生产内容,但是他们从来不会去玩产品别的功能模块。
从用户画像来说,有车以后社区:都是一群想要买车的小白用户(个体,只消费内容,极少数生产内容),群空间:都是真实的车主(基于微信群的群体,拥有生产内容的能力)。
因此基于小程序性能瓶颈的限制的考虑和用户群体的本质性差异,我们将这两个产品给拆分成了两个独立的小程序并且进行独立化的运营。
在产品上,原产品社区的定位为消费内容,群空间的定位为生产内容,但是两边数据是共享的,甚至部分用户是重合的,加在一起能组成一个完整的UGC生态。
第二步:明确各个环节职能
因为社区首页-车友圈(用户圈组)-群空间(基于微信群的朋友圈)这个三级结构,我们可以把他理解为内容分发的一个金字塔结构。
那么围绕这一个金字塔服务的运营团队应该也能分为几个环节:
- 底层社群支持团队(类似运维);
- 社群运营团队(头部用户拉新与维系);
- 社区运营(内容运营、活动运营、用户运营);
- 推荐算法训练团队(算法运营、算法调优)。
首先是底层社群支持团队,在微信生态做社群必不可少的是一套完备的机器人辅助机制,黑产用他们来进行薅羊毛,而我们则是用机器人来进行社群的管理服务我们的微信群用户。
其次则是社群运营团队,从线下真实车友会的点对点拉新,到平台的入驻,再到第一次在群里面推广普及我们的群空间产品,整一个流程由社群运营深度的与群主进行沟通,并且在日后定期在朋友圈和微信聊天点对点宣传。
至于社区运营则是每一个社区必不可少的环节,内容运营负责维护社区品相、氛围,删帖、删评论以及发现优质内容,活动运营则是需要定期的举办活动来征集特定主题的UGC内容,用一个又一个话题来维持整个UGC生态的活跃,而用户运营则是对红人、KOL的邀请、挖掘和日常管理,对普通用户违规处理,以及对用户反馈进行处理。
第三步:利用合适KPI来PUSH每个环节的岗位
当环节岗位的工作职能进行了梳理和划分以后,那么接下来要做的是让每一个环节的人去关注他这个环节的数据指标,对这一个环节的工作负责。
推行OKR制度的公司的同学应该了解,OKR制度的核心就是最顶层有一个OKR,部门围绕这个顶层制定OKR,而对应的岗位围绕部门制定OKR,而运营体系也可以用相同的手段,那么整一个至下而上的环节出现问题的时候,我们根据对应环节的数据指标就能快速及时的发现问题并且进行解决。
比方说最底层社群支持团队,他们其实是围绕支撑微信群机器人来开展工作的,而为了避免被微信风控团队当作黑产误杀,那么就必须要进行养号,把账号模拟成一个真实的用户用以风险防御,并且对于在日常要对机器人的服务进行维护,防止用户使用的时候,机器人掉线了。
那么在快速扩张的进程中,规模化、系统化的让机器人保持稳定服务的状态就是他们工作最核心的宗旨。
因此:考核的指标是:掉线频率、封号频率、机器人数量。
比方说社群运营团队,主要是做拉新和留存的。他们需要合理控制投放的成本,找到对口的微信群,邀请他们入驻平台,并且开始使用我们的产品。
当完成拉新以后,需要定期的与群主进行维系,观察活跃情况,及时通过微信聊天、朋友圈等渠道宣传最新的活动以及运营政策。
考核指标为:社群用户总数、微信群活跃度、推送打开率。
比方说社区运营团队,他们要能想象社区品相的最终模样,制定具体落地的计划得到每个阶段社区发展的里程碑如何,再用活动运营与用户运营的手段来征集内容填充社区。
则考核指标为:UGC内容数量、精华UGC数量、评论数量、社区活跃指标。
那最后则是职能推荐运营团队,其实是对推荐物料库的维护(什么样的UGC内容可以被机器抓取然后推送给用户),以及训练机器算法让用户收到的UGC内容是他感兴趣并且有需要的。
则考核指标为:准确率、打开率。
第四步:产品运营协同,至上而下同步阶段目标
当然不同公司现实是不一样的,像我们这个产品,内容运营是属于内容中心部门的,而社群运营是属于产品研发中心的,所以跨部门沟通协作会比绝大多数公司更加繁杂。
当权责划分清楚以后,就要开始围绕协作建立一套高效的运营协作机制了,也就是所谓的加强沟通,保证信息的高效流转。
首先是至上而下,大家需要明白当前社区发展处于什么样的阶段,主要的目标是什么,接下来的一个季度要完成什么样的目标。
其实也就是把大方向和所有人同步,不求每个人都能理解,但是至少大家知道自己在做什么,这样就能避免迷茫,因为当人一迷茫,团队就会不稳定。
接着是上下环节协作之间的一个同级别岗位协作机制。
比方说:每周建立产品+社群运营+内容运营周会制度,同步上周产品运行过程发现的现象和问题,收集到的需求,新一轮的运营政策,需要别的团队怎么配合。
比方说:有周报抄送的制度,各个环节的负责人之间的信息应该是透明的。
第五步:资源盘点、合理分配,制定适合的运营策略
在社区发展的早期,我们给予了群空间大量的运营政策与奖励倾斜,致使原本的用户群体很多放弃了原有的活跃阵地,直接在新产品上进行活跃。
在明确了两个产品的定位以后,其实运营这里的资源(人力、预算)需要重新的进行盘点,然后根据下一季度需要达成的目标来重新的分配预算。
同时开发资源也是如此,开发资源是有限的,而社群运营和内容运营都会有自己的需求点,毕竟他们关注的目标已经发生了变化,当产品收集完需求以后,需要进一步甄别,判断开发的优先级。
而由于用户群体的差异,两边的运营政策也做了因地制宜的调整。比方说有车以后(原社区),由于这里的用户都是个体(散客),所以我们运营的侧重点是从人与人之间的比拼出发,在所有的普通用户里面去挖掘培养出红人,甚至邀请外部的达人在社区上进行活跃,从而带动整个社区的氛围。
而群空间多是有组织性质的微信群,所以我们运营的侧重点是把这种群体视为一个游戏里面的帮派,利用帮派的比拼让群体的用户活跃甚至产出内容。
一边可以直接以人点对点的方式让他们生产优质内容,而另外一个则是面向群体征集内容,在数量庞大的内容里面精选出优质的内容。
总结
虽然我不是运营,但是我们必须要明白产品运营不分家的概念。
我们需要对用户负责(不会因为功能设定和运营规则的不清晰和模糊导致弃用产品),需要对产品负责(更简单的运营体系有利于产品的扩展性),更加需要对技术团队负责(有限开发资源下尽量减少工作成果的浪费,研发需要一步到位获得最优解决方案)。
体系化运营的搭建远比团队短期内关注眼前的现状更加重要以及紧迫,因为从大厂那里得到的经验告诉我们:不仅人的工作需要方法论,团队也需要方法论。而专业的人在适合的环节做专业的事情,不精力分散,关注回属于这一环节的指标,这才是精细化运营的必要前提。
作者:罗舜伟



