01 抽奖
小吴是个pm,今天是周一,也是他入职新公司的第二周。这是一家初创的互联网出行公司,主营业务是高端车出行:基础价、里程费和时长费都比普通网约车贵20%+。
初创阶段,公司需要大量用户,采用了优惠充值的方式吸引新用户注册。小吴所在的策略运营产品部,负责新用户的激活、所有用户的活跃和留存。
刚开完周会,leader急匆匆地赶回来,让小吴出方案。
以下是他们的对话——
leader:“小吴,来公司一周了,业务熟悉了吗?周会上老板让我们出个方案,逐步取消新用户的订单折扣券。
上一个pm用了折扣券的方式激活新用户,效果确实不错,但公司的补贴成本太高,现在经济不景气,各个部门都在降成本。
给你三天时间出PRD,赶紧给我想个办法,砍掉一半的激活成本,达到跟优惠券一样的效果。”
小吴:……
两个选择从小吴的脑中飞过:
- A:“好的,老板,我马上看看竞品是怎么做的,保证3天就评审;”
- B:“老板,现在新用户的激活方式,激活了多少用户?成本是多少?”
如果你是小吴,请思考三秒钟后做出选择,选A还是选B好?
如果你选B,恭喜你走出了分析需求时正确的第一步:在动手之前,充分了解背景、目标和收益。
我们继续——
小吴:“老板,现在新用户的激活方式,激活了多少用户?成本是多少?”
Leader:“公司现在有500多万用户,其中有270万是通过优惠充值的方式进来的,每充值1,000,返200,最多充值10,000。
最开始这部分用户,在注册的第一个月,每周订单量不满0.5,低于活跃用户的每周3.6单。为了让他们养成打车的习惯,在充值成功后的第一个月,每7天送两张8折折扣券,7天后过期。
这样首月的新用户订单量涨到了2.7,习惯是养成了,但公司需要大量补贴。”
小吴:“有更详细的数据吗?”
Leader:“我还要开会,会上发给你。你赶紧忙起来,据说竞品A上线了‘打车金’,专门补贴新用户,成本还降了不少,你去研究下,我们也要跟上。”
小吴:“好的,老板。”
为了更全面的了解竞品的玩法,小吴注册了四家竞品的app,发现他们都在对新用户进行补贴。
竞品A的“打车金”的玩法引人注目:无论是新老用户,平台都会补贴。
具体形式是,在每单付款成功后,弹出抽奖页面,以随机金额的形式奖励用户,金额存在用户的打车金账户里,每次付款可以抵扣,没有使用期限。
针对新用户,大额在概率上也有一定倾斜:新用户的中奖金额明显高于老用户。

小吴很快发现了抽奖的优势:
- 利用了人对未知的好奇,甚至是成瘾性。
- 通过调控概率,不光可以控制人的行为,也能控制预算。
其实在1938年,“斯金纳箱实验”就揭示了这个道理:在箱中,操作主角是各种动物。在一个箱子的一侧有一个可以按压的杠杆,在杠杆旁边有一个放着食物的小盒子并且紧挨着箱子上的小孔,动物只要在箱子里面按压杠杆就会有食物从小孔掉入。
箱子的发明人斯金纳做了一系列实验,其中一项有关成瘾:
将一只很饿的小白鼠放入斯金纳箱中,多次按下按钮,有一定概率掉落食物。结果小白鼠学会了不停地按按钮。
当食物不再掉落时,小白鼠的学习行为消失速度非常慢。随着概率越来越低,小白鼠按按钮的学习行为没有变化,直至40-60次按按钮掉落一个食物,小白鼠仍然会不停按按钮,持续很久一段时间。(同样的,用鸽子做实验,平均每5分钟获得变化时距的食物强化的鸽子,每秒能做出2-3次反应,连续反应长达15小时)
这个实验模拟了为什么“赌博”—如简单的老虎机,或者更复杂的赌博麻将等,会给予人类以依赖感,或者说,成瘾性。
由于可以通过调控概率而控制结果,实验对象很难直观地判断机制是否失效,所以单次的失败不会终止习惯,行为会一直持续下去。而概率控制的,不光是结果,也有预算。
言归正传,这个玩法,小吴能直接用吗?
很明显,玩法也有不大明智的地方:
- 直接用钱,或者说钱的等价物激励用户,很直接,也许很见效,但它使得刺激阈值变高,以后用其它方式,如虚拟物品激励用户时,会使得用户将其和钱进行比较,从而产生心理落差。
- 当前玩法是每次都中奖,中奖概率是100%,而且付款后获得的抽奖机会只有一次。
考虑片刻后,小吴做了初步决定:
- 也做抽奖形式的产品,但是奖品不光有钱,也有平台积分和优惠券。从用户进入平台开始,就建立不同层次的激励类型和阈值;
- 每次付款后,用户获得的抽奖机会为3次,让用户玩得更爽。但也限制用户的单天抽奖次数,防止用户真的成瘾;
- 中奖概率不是100%,以更好的调控成本;
- 增加”下次好运”(让用户更好’成瘾’),和”再来一次”(像不像过山车到了顶峰,突然停了下来?)。
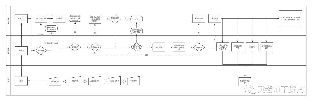
流程图和原型图也很快出来了:


02 转盘背后的故事
抽奖的特点已经分析,作为一种活动或是游戏方式,它利用了人的好奇心,甚至是成瘾性。
另外,通过概率调控预算也是抽奖的一大特点。
看起来简单,只需要轻触“Start”按钮后等待中奖结果的trick,原来要经过这么多的流程节点,才能完成。
2.1 打造极致的活动氛围
(1) 给予最充足的抽奖次数和机会类型
玩过《王者荣耀》的读者应该记得,获取铭文有多种方式:其中一种是利用钻石或金币兑换“铭文抽奖机会”。王者荣耀深谙用户的心理,在机会获取上充分满足了用户的需求:

① 躺着赢机会:
每隔48小时,给予一次免费抽铭文的机会(以前是24小时)。
这种方式既满足了用户抽奖欲望,也利用了小恩小惠,赚取用户的app打开率,提升活跃。
②低门槛机会:
除了常规的单次抽奖外,用户还可以连抽5次。
但抽1次的碎片(奖品)范围仅为10-400碎片(金币兑换)和25-1600碎片(钻石兑换),奖品价值明显不如连抽5次的高:65-500碎片(金币兑换)500-3200碎片(钻石兑换)。
③高价值机会:
如上述,抛开用户可能会上瘾的风险不说,高价值的机会让抽奖有爆点,增加了用户上瘾的可能性,也为平衡平台内的货币体系做出了贡献:一部分没有流通的货币(金币和钻石)被价值矮化,变成另外一种价值更低的“货币”(铭文碎片,在达到一定数量后才能转化为铭文),冲抵了货币通胀或紧缩的风险。
但如果你的产品框架里没有像《王者荣耀》一样的多级货币体系,就不能在机会上满足用户了吗?
通观其它产品内的抽奖,一些常规套路效果也不错:分享获取机会和做任务获取机会。
说到这你应该明白标题用“促活神器”的原因了:做任务可以拉动平台的各项指标,尤其是一些轻度活跃的指标,而分享后获取机会更是对leads有帮助。
充足的机会解决了抽奖的源头问题,最怕用户没有机会没法抽奖。用户在抽奖时的一些“小心思”,你也需要顾及:
(2) 让坐过山车的感觉来的更猛烈些
试想以下场景:你点击“Start”按钮——跑马灯开始旋转——转转转转转——跑马灯慢了下来——奖品是“再来一次”,
作为pm,接下来你会怎样设计?
跟其它产品一样弹窗,告诉用户中的是“再来一次”,是一种设计方式,也绝对没错,但也不够出彩。
此时用户的心理仿佛是过山车行至最高处,准备好了快速下冲,一探究竟。给用户弹窗,甚至还要点击确认后重新开始,无疑没有利用好过山车最高处的“势能”。
既然在最高处被暂停,不妨给用户一个痛快:跑马灯可以在原icon处快速闪烁一秒后,以比“上山”更快的速度冲向奖品的icon,显示结果,给用户一个痛快。
(3) 中奖结果要给用户及时反馈
跑马灯或者其它确认奖品的动效结束后,一定要给予用户及时的提示,且动效显示的奖品要和提示中奖的奖品,保持一致,以免让用户懵,或者产生极端误会——动效停在了大奖上,而提示的奖品却不一致。
(4) 让用户产生“我也要中大奖”的心理
90年代风靡一时的即开即中福利彩票,看着领奖台上噱头十足的奖品,让父母带自己多试试手气,是笔者当年经常做的事。
这种现场抽奖,对已经参与的人和未参与的人,都是极大的吸引,首先奖品摆在领奖台上,使人的欲望更加具象化。有人中奖时,工作人员会在台上为其颁奖,这更是刺激了现场所有的人,不管你是否参与进来。
可是线上抽奖没有线下的场景,怎么做的跟线下一样具有吸引力呢?
陈列奖品在UI上用力即可,但其它人如果中奖,尤其是中大奖,用户怎么获知?如果把抽奖看作是直播现场,让所有人及时知道消息的方式中,“弹幕”是再好不过了:在页面上轮播大奖的中奖名单,吸引用户更快抽奖。
(5) 如果没中奖,要及时疏导
过山车坐完如果没有结果,要及时给用户慰藉 — 可利用文案或者ui安抚。
如果是抽奖频次比较高的情况,也可以考虑再引导用户再抽一次,以弥补落空的心理。
2.2 概率和预算
(1) 防止奖池不被快速抽爆
正是因为抽奖的刺激性,用户可能会大量的涌入抽奖,从而抽光奖池,使得其后所有抽奖的实际概率为0。
在发布抽奖之前,根据预估抽奖次数,平衡概率和预算,显得尤为重要。
先给出一个公式:
抽奖次数=用户总数*参与率*人均机会次数*机会使用占比
一般,在知道预算后,估算出抽奖次数,再确定每个奖项的中奖概率,便可知道概率和预算该如何平衡。
(2) 额定中奖概率=实际中奖概率?
任何额定值都不等于实际值,中奖概率也一样。
单次抽奖的结果永远只有中和不中,随着抽奖次数增多,额定中奖概率是将(实际总中奖次数/实际总抽奖次数)%控制在额定概率附近,直至奖池被抽干净。
上线前,可以根据预估抽奖次数,多模拟几次抽奖,额定和实际的中奖概率虽不一致,但每次模拟的结果,都应该差不多,如果偏差率大于等于5%,要引起注意。
2.3 风险防范
跟任何一个活动一样,抽奖也需要风险方法,出现以下情况,要做好最用户的运营,以免产生负面影响:
- 服务崩溃。
- 奖池被抽干:如果预算充足,还是建议提前设定好概率,以避免奖池被抽干。补充奖池在技术上比较麻烦,也有风险,抽干后,实际中奖概率为0时,也是不好的用户体验。
- 做好少数不良用户会ps中奖截图,或者解析url后产生不法行为的准备。数据库中要详细记载每次抽奖的时间,抽奖人和结果,以备使用。
2.4 公平与红线
2004年3月17日,国家工商行政管理局曾在《关于网站在提供网上购物服务中从事有奖销售活动是否构成不正当竞争行为问题的答复》中明确了抽奖是有奖销售行为,应依照《反不正当竞争法》第十三条予以规范”。
为了公平起见,同时根据相关规定,经营者举办有奖销售,应当向购买者明示其所设奖的种类、中奖概率、奖金金额或者奖品种类、兑奖时间、方式等事项。
属于非现场即时开奖的抽奖式有奖销售,告知事项还应当包括开奖的时间、地点、方式和通知中奖者的时间、方式,并且,经营者对已经向公众明示的前款事项不得变更。
另外,在设置奖项时也应注意:2018年1月1日修订施行的《反不正当竞争法》第十条规定抽奖形式的有奖销售,最高奖的金额不得超过五万元。
03 总结
还记得为了打造极致的活动氛围,要注意的几个点吗?
- 给予最充足的抽奖次数和机会类型。
- 让坐过山车的感觉来的更猛烈些。
- 中奖结果要给用户及时反馈。
- 让用户产生“我也要中大奖”的心理。
- 没中奖要及时疏导
氛围虽然重要,但抽奖涉及金钱或其它等价物,在平衡概率和预算、风险防范和法律法规上,也要注意,避免奖池被抽光,或者一不小心违反了国家的法律法规。
以上是抽奖的所有内容,希望能对大家的产品工作有所帮助。
作者:黄老师

